Martillos de bola de acero inoxidable con mango de fibra de vidrio | SS506
BAHCO

Martillos de bola de acero inoxidable con mango de fibra de vidrio | SS506 de BAHCO

Compartir en tus redes sociales:

Descripción del producto

  • Cuerpo de acero inoxidable AISI 420.
  • Cabeza magnética.
  • Mango bi-componente de fibra de vidrio.
  • Gran resistencia y dureza.
  • Pueden esterilizarse en autoclave a 121 ºC.
  • Fabricados de acuerdo con las normas UNE 16588 y UNE 16589.
  • Herramientas con una gran resistencia y dureza.
  • Gran resistencia a la corrosión.


Utilice los filtros para elegir el producto que quiere

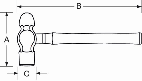
ReferenciaVarianteLongitud totalLongitud de la cabezaPeso de la cabeza del martillo, gAnchura de la cabezaImporte  
SS506-200-FB SS506-200-FB290 mm83 mm200 g24 mm46,78€  
SS506-300-FB SS506-300-FB290 mm90 mm300 g25 mm62,90€  
SS506-500-FB SS506-500-FB318 mm100 mm450 g27 mm67,75€  
SS506-700-FB SS506-700-FB340 mm112 mm680 g34 mm120,96€  
SS506-900-FB SS506-900-FB365 mm125 mm900 g36 mm140,32€  
SS506-1100-FB SS506-1100-FB407 mm138 mm1100 g39 mm159,68€  


Descargas y enlaces

Documentos PDF

Manual Usuario